SG亚洲胜游

    tendata

    免费试用

    免费试用

    微信

    1V1微信咨询

    WX:18721992033

    电话

    电话咨询

    400-180-6080
    tendata

    返回顶部

    X

    扫码添加微信,预约免费演示

    精准获客 智能决策

    数字化外贸综合营销决策平台

    现在预约免费体验更多数据服务

    请完善以下信息,以便为您安排演示或样本

    提交成功!

    已自动分配售前顾问为您服务。请添加微信,更快获取项目案例和报价

    中文
    English بالعربية Español
    EN
    登录 免费试用
    بالعربية Español
    SG亚洲胜游 > 外贸资讯 > 马来西亚海关数据查询

    马来西亚海关数据查询

    日期:2023年07月04日

    海关数据,进出口数据,海关数据查询

    作为“亚洲四小虎”之一的马来西亚,境内具有非常多的自然资源,是全球第五大液化天然气出口国,世界上第三大天然橡胶出口国。中国与马来西亚长期以来都保持着友好合作的关系,已陆续在13年成为马来西亚最大的贸易伙伴。很多外贸人都想要顺利获得开发马来西亚市场来取得较大的利润,接下来SG亚洲胜游就详细介绍一下如何开发马来西亚市场。

    马来西亚海关数据,马来西亚海关数据查询,马来西亚进出口数据

    一、马来西亚市场概况

    马来西亚是东南亚国家之一,位于马来半岛和婆罗洲,拥有富饶的自然资源和多元文化。该国的首都是吉隆坡,官方语言为马来语,但英语也被广泛使用。

    马来西亚是东南亚第三大经济体,国民富足,年轻人口众多,对中国商品非常喜欢。

    人口3200多万,25岁以下年轻人口占比43%。人均收入1万美元,仅次于新加坡,与中国水平相当。

    马来西亚的经济主要依靠出口,其主要出口商品包括电子产品、石油和天然气、木材、橡胶和棕榈油等。该国的主要进口商品包括机械设备、化工产品、电子产品和金属及金属制品等。

    马来西亚是全球最大的橡胶生产国之一,也是世界领先的棕榈油生产国。该国在电子产品方面也具有竞争力,拥有大量的电子制造企业和研发中心。此外,马来西亚的旅游业也是其重要的经济支柱之一。

    二、马来西亚市场的贸易情况

    马来西亚的进出口贸易额在世界范围内处于较高水平,与中国、美国、新加坡、日本等国家和地区的贸易往来较为密切。马来西亚是中国在“一带一路”沿线的第二大贸易伙伴。2022年,中国与马来西亚双边贸易额达2035.9亿美元,同比增长15.3%。其中,中国对马出口937.11亿美元,同比增长19.7%;中国从马来进口1098.78亿美元,同比增长11.8%。从贸易规模看,中国是马来西亚最大的贸易伙伴国。

    马来西亚海关数据,马来西亚海关数据查询,马来西亚进出口数据

    从贸易商品结构看,2022年,中国对马来西亚出口主要是机电、音像设备及其零件、附件,贱金属及制品,纺织原料及纺织制品。其中,机电音像制品出口375.12亿美元,同比增长16.7%;贱金属及制品出口83.37亿美元,同比增长19.95%;家具等杂项制品出口68.6亿美元,同比增长18.7%;纺织原料及制品出口67.39亿美元,同比增长4.5%。

    来西亚海关数据,马来西亚海关数据查询,马来西亚进出口数据

    中国从马来西亚进口的主要产品是电机、电气、音像设备及其零附件,矿产品,贱金属及制品,化学工业品,塑料及制品等。其中,机电音像制品进口483.47亿美元,同比下跌2.6%;矿产品进口397.25亿美元,同比增长54.8%;贱金属及制品进口53.84亿美元,同比下跌18.05%。

    马来西亚海关数据,马来西亚海关数据查询,马来西亚进出口数据

    根据SG亚洲胜游数据分析,2022年中国出口马来西亚交易趋势,除了传统春节2月交易是平时的一半量,其余每月比较平稳,在年中6月略有上涨,其余没有明显的淡季旺季之分。

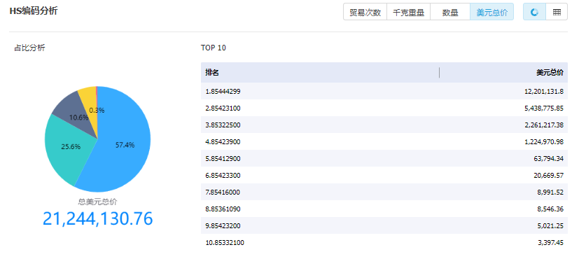
    2022年中国出口马来西亚涉及6119多个八位编码产品,其中机电、音像设备及零配件以海关编码85大类为主,具体涉及105个八位编码。

    其中以海关编码85大类为例:集成电路电机等产品出口尤为出众,出口美元总值257多亿美元。

    马来西亚海关数据,马来西亚海关数据查询,马来西亚进出口数据

    图:马来西亚进口85类产品进口商 ARROW ELECTRONICS ASIA S PTE LTD

    1688438651091042542.png

    图:ARROW ELECTRONICS ASIA S PTE LTD此公司85类进口占比

    1688438777697062316.png

    图:ARROW ELECTRONICS ASIA S PTE LTD此公司采购人联系方式

    1688438825511014280.png

    1688438858696069937.png

    图:更多马来西亚85类产品进口商

    中国和马来西亚之间的主要贸易商品除了电子产品之外,机械设备、化工产品、农产品和木材等也是重点。其中,中国向马来西亚出口的主要商品是电子产品、机械设备和化工产品,而马来西亚向中国出口的主要商品是天然橡胶、石化产品和木材等。随着消费的带动,更多的中国品牌也入驻马来西亚并占有市场。

    小腾在马来西亚市场看到,比较成功植入当地的中国消费品牌包括:华为、小米、OPPO、美的、海尔、联华超市、伊利的泰山牛奶、今飞凯达等,这些品牌和公司在不同的领域都有很强的竞争力和影响力,也都在不断地努力提高自己的品质,并在马来西亚市场上扩大自己的业务规模。而中国销往越南、印度、俄罗斯等地的商品也会较多的继而转售给马来西亚。

    三、马来西亚人的文化礼仪

    1、见面礼仪

    马来西亚人在见面时喜欢以握手来表达友好,但是有些信奉回教的马来西亚妇女,不喜欢有肢体接触,特别是见到陌生的男人时,只会点头或微笑来表示友好。

    2、拜访礼仪

    马来西亚人非常注重个人时间,如拜访马来西亚本地人,要在去之前致电对方,约好时间再上门,在进入屋子前要先脱去自己的鞋子。

    3、宗教礼仪

    马来西亚人多信奉回教,由于回教规定教徒不能喝酒,所以马来西亚人,都不饮用带酒精的饮品。同时在进入马来西亚的清真寺或庙时,要脱掉自己的鞋子,有些一些清真寺还会要求女性参观者佩戴长袍和头巾。

    4、饮食方面

    马来人禁烟,不吃猪肉、死物或动物血液。以米饭、糯米糕点等为主食,用餐习惯是用右手抓饭进食。

    5、其他禁忌

    不可用食指指人,若要指示方向只能用拇指,与马来人打招呼、握手、馈献礼品或接物时不可用左手,用左手接物或打招呼会被认为对他们不敬。

    马来人忌讳别人触摸其头部,除了教师或宗教仪式外,不要把脚底展露在他人面前,用脚底对着人是对别人的侮辱。

    ➤ 主要节假日:

    · 1月1日:新年· 3月1日:登霄节· 4月15日:耶稣受难日· 4月17日:复活节· 5月3日:开斋节· 5月30日:丰收节· 7月10日:宰牲节· 8月31日:国庆节· 9月16日:马来西亚日

    · 12月25日:圣诞节

    总的来说,中国和马来西亚之间的贸易协定签署后,在过去几年中不断保持良好的开展趋势,并且随着两国政府之间的合作不断加强,未来的贸易前景也非常乐观。

    >>>点击咨询<<<

    SG亚洲胜游,SG亚洲胜游数据,SG亚洲胜游外贸通


    声明:文中部分素材来源于网络,如有侵权联系删除。未经本站授权,任何人不得复制转载、或以其他方式使用本网站的内容

    订阅SG亚洲胜游

    SUBSCRIBE US

    掌握外贸最新情报,挖掘全球贸易商机。
    微信扫码订阅